Презентация на тему: "Перспектива. Виды перспек...
ПРИСПОСОБЛЕНИЯ ДЛЯ ТОКАРНЫХ СТАНКОВ КЛАССИФИКАЦ...
Обратный грибковый гладкий центр диапозон до 75...
Нормальный, обратный, вращающийся токарный цент...
Обратный центр вращения КМ5. Посадка внутренний...
Просьба опознать вещь Здравствуйте. Подскажите ...
Центр обратный – Токарный центр "обратный конус...
Физиология ЦНС Торможение презентация, доклад
Обратная связь — Центр НЛП
О - центр окружности найти X - Школьные Знания.com
Как сделать обратный отсчет в Инстаграм*е — Веб...
Грибковый вращающийся центр гост: Центры вращаю...
Обработка заготовок эксцентриковых деталей - То...
Обратный зубчатый центр КМ3 (15-45 мм) купить в...
Центр вращающийся 7032-4158-11 КМ5 обратный кон...
Центр упорный КМ 0 - Обратный купить в Казани ц...
Приспособления для токарных станков. Область зн...
2.1.2. Основные виды токарных работ.
Классификация установочних пальцев
Обратный звонок | Основные настройки | Справочн...
Приспособления для шлифования в центрах.
Обработка в центрах от обработки в патроне тока...
Обратный центр с цилиндрическим хвостовиком куп...
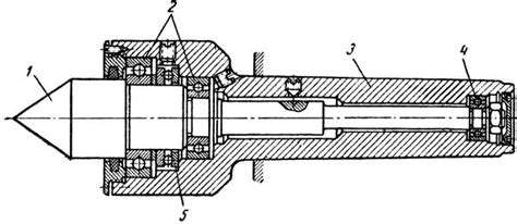
Станочные центра. Виды центров упорные, обратны...
Обратный центр КМ3 купить в Пензе цена 500 Р на...
Центр и обратный центр для маленького станка - ...
Обратный зубчатый центр 12-45мм КМ3 купить в Мо...
Презентация на тему: "ПРИСПОСОБЛЕНИЯ ДЛЯ ТОКАРН...
Центр обратный КМ5 купить в Пензе цена 800 Р на...
Обратный полу центр КМ 4 купить в Домодедово це...
Обратный зубчатый центр 12-25мм КМ3 купить в Мо...