Кондуктор для сверления мебели 80 фото
Кондуктор для сверления отверстий под евровинт ...
Кондуктор для сверления отверстий (44 предметов...
Кондукторы для сверления отверстий: разновиднос...
Кондуктор для сверления направляющие для сверле...
Кондуктор для сверления | Скачать чертежи, схем...
Кондукторы для сверления отверстий в мебели сво...
Кондукторы для сверления отверстий и шурупы для...
Черон Кондуктор для сверления отверстий в плоск...
Кондукторы Для Сверления - Купить В Москве | Це...
Кондукторы для сверления отверстий, что купить?...
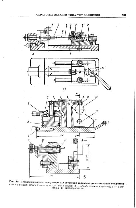
Кондукторы переналаживаемые - Энциклопедия по м...
Кондуктор для сверления под конфирмат - YouTube
Кондуктор для сверления отверстий, перпендикуля...
Мастер 3D Кондуктор для сверления многофункцион...
Кондуктора для алюминиевого профиля. Ножи для в...
Кондукторы для сверления | Инструменты | АО Ладога
Кондуктори для свердління купити в Україні - "К...
Кондукторы Для Сверления – купить в интернет-ма...
Купить кондукторы для сверления отверстий - Tre...
Кондукторы для закрепления заготовок. Незакрепл...
Кондукторы для сверления отверстий крепления пе...
Кондуктор для сверления отверстий под фурнитуру...
кондуктор для сверления вертикальных отверстий ...
Купить Кондукторы для сверления со скидкой на р...
Мебельный Кондуктор для Сверления Отверстий Под...
Лучший кондуктор для мебели - фото