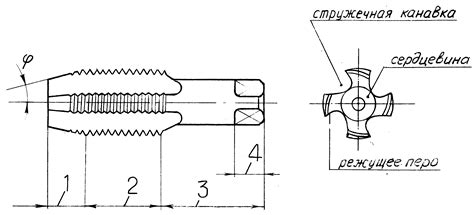
Метчики Классификация и конструкция метчиков
МЕТЧИК ИНСТРУМЕНТ ООО "Арматон" ⋆ КУПИТЬ ОПТОМ
Фотография «Инструмент»
Метчик ручной М27х2, комплект из 2-х штук купит...
Метчик | это... Что такое Метчик?
Метчик рисунок (47 фото)
Метчики купить в Украине, Киеве, Харькове, Днеп...
инструменты стоковое фото. изображение насчитыв...
Бесплатный инструмент для размытых фотографий
Метчики цена в ОАО Оршанский инструментальный з...
Как выбрать метчик — РИНКОМ
Купить метчики оптом - Метизно-Инструментальная...
Метчик машинно-ручной (м/р) М39х1,5 комплект (№...
Метчик ручной М18х1.5 (комплект) СССР купить в ...
Метчик машинно-ручной М20х1,5 однопроходной с п...
Инструмент для нарезания резьбы. Метчики. Виды ...
Как использовать изношенные метчик
Инструменты — Стоковое фото © EdZbarzhyvetsky #...
Как выбрать МЕТЧИК правильно? Почему об этом НЕ...
Метчик универсальный - YouTube
Метчик ручной 14х2 основной шаг р6м5 (комплект)...
Метчики
Метчик левый 12х1 купить в Краснодаре цена 440 ...
Метчик - что это такое, устройство, применение,...
Метчик машинно-ручной М12х1,0 HSS купить в Нижн...
Метчик ручной дюймовый 1/2" У к-т купить в Челя...
Метчик машинно-ручной М 18х1 СССР купить в Ново...
Мечик (метчик) производство СССР: 100 грн. - Ру...
Метчик Машино ручной М36х2 комплект 1-й 2-й мет...
Метчик ручной М27х2(черновой) купить в Мурманск...
Метчик ручной М20х1. Комплект. купить в Екатери...
Метчик М18х2.5, длина 110. СССР купить в Ростов...