Задний датчик положения кузова — Volvo S60 (2G)...
Датчик положения
Замена датчика положения кузова — Ford Mondeo I...
Купил датчик заднего хода. — Opel Monterey, 3,2...
Не горят фонари заднего хода, датчик заменил пр...
Датчик движения для включения света врезной - 9...
Ошибка p0299 или Pierburg 7.02221.01.0 — Volvo ...
Датчик положения кузова — замена — Ford Mondeo ...
OBD DTC Fehlercode P2529 | Vakuum-Reservoir-Dru...
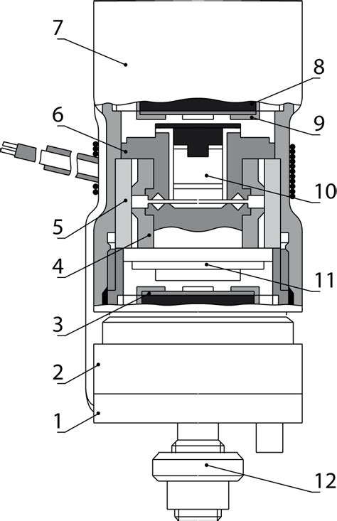
2.3 Датчики положения
Ошибка P0219 Датчик коленвала. — Ford Mondeo IV...
Датчик колейки датчик движения очереди
Ошибка P0299 — Opel Astra J, 1,6 л, 2015 года |...
Датчики на зимний комплект резины — Ford Mondeo...
Датчик положения распредвала - YouTube
Help Help Help !Ошибки по Генератору P0621 и P0...
Купить ДАТЧИК ПОЛОЖЕНИЕ ВАЛУ KORB. FORD MONDEO ...
Возрождение правильного заднего хода. Part I: Д...
Ошибки — P0299 / P0030 (низкое давление наддува...
Датчик парктроника — Ford Mondeo V, 2,5 л, 2016...
P0629 Mercedes: Fuel Pump Relay Control Circuit...
Поиск решения ошибки 02628 — Датчик положения п...
Ошибка 02629 — Volkswagen Passat B6, 2 л, 2006 ...
Коммутатор, датчик хола: RSB-52. — Mazda 626 IV...
Потенциометрические датчики - презентация онлайн
9.1. Система контактных датчиков.
Датчик заднего хода от Газель Next в Ниву — Lad...
6292694 Провод датчика оборотов переднего колес...
ДАТЧИК ПОЛОЖЕНИЯ КОЛЕНЧАТОГО ВАЛА - YouTube
Датчик включения заднего хода накрылся( — Ford ...
датчик положения кузова — Volvo XC90 (1G), 2,4 ...
О заднем датчике положения кузова — Volvo XC60 ...
Замена датчика impc — Ford Mondeo IV, 2 л, 2011...