Резистор за премахване на изгоряла крушка 50W-3...
THYRISTOR 50A 800V
Силовий резистор 50W 47 Oм в алюмінієвому корпу...
709010/1-50-480 | Jumo Thyristor Festkörper-Lei...
Phase Control Thyristor SCR 50 Amp - Medium Pow...
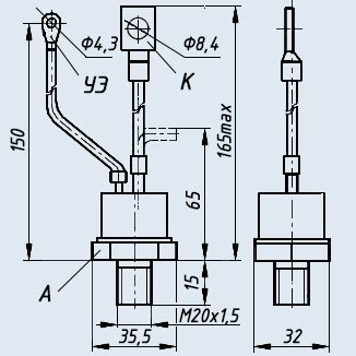
Т50-10, Тиристоры низкочастотные, характеристик...
Купить новый цифровой 50А синий привело измерит...
Оригинален немски компресор 50 литра за въздух ...
59rc50 Power Thyristor 500v 50a - Thyristors - ...
50 ампер предохранитель: 5 000 сум - Аксессуары...
TYRISTORI 50A 1200V 100mA TO65 - PARTCO
ТСО152-50-10, Тиристоры симметричные оптронные,...
Стабилизатор напряжения (11000 кВА) Вольт Ампер...
Тиристор Т50-10 - купить с доставкой по выгодны...
Spiral-unidirectional-thyristor-KP50A1200V-1600...
Купить Амперметр 50А (аналог АП171) КАМАЗ, УРАЛ...
Тиристор Т132-50 - TDK ELECTRO (ТДК ЭЛЕКТРО)
Tiristor - 50A/1000V
Phase Control Thyristor Scr 50 Amp Scr 50ria120...
RUTTONSHA THYRISTOR 1950A at Rs 2999 in Mohali ...
Тиристор 50А 1200В 50мА Ixys CLA50E1200HB TO247...
Tiristor 50A 1200V 80mA TOP3 - TIRBTW69
Запобіжник 50 ампер автомобільний в категорії "...
Продавам резистори 50W и 100W различно съпротив...
Руски тиристор 50а TЧ 50- 7; 700 V/ 50A, честот...
Ампер-вольтметр из китая 100 вольт 50 ампер. - ...
Тиристор. Тиристорный коммутатор. Тиристорный к...
Трифазен руски превключвател АП50Б | Силнотоков...
The Guide to Stud Type Thyristors in Manufactur...
Promo AMPEREMETER ANALOG DC 50 AMPERE + SHUNT R...
Thyristor_50A_600V_50RIA | PDF | Electrical Eng...
Спирален резистор, 25 Ohm, 50W, злато - eMAG.bg
Тиристор ТЧ-50-8 800V 50A 400mA
Tiristor 50Hz 50V 25A igt 30mA 2N6504 | Kuantok...