УАЗ с двигателем ЗМЗ-409 - купить по низкой цен...
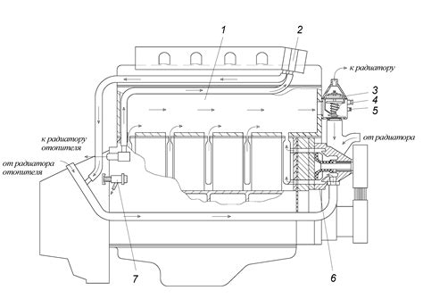
Система охлаждения уаз хантер 409 двигатель схе...
Патрубки холостого хода силиконовые (вентиляции...
Система охлаждения Уаз Патриот с двигателем ЗМЗ...
Как снять вентилятор уаз патриот 409 двигатель ...
Купить Двигатель ЗМЗ 409 евро 3 УАЗ Хантер, Пат...
Двигатель ЗМЗ 409 Евро-2 УАЗ Патриот Хантер
Система охлаждения ЗМЗ 409. Система охлаждения ...
Радиатор УАЗ Хантер 409 - Радиатор УАЗ Хантер 4...
Радиатор охлаж. УАЗ-Patriot дв. ЗМЗ-409 (2-х ря...
Уаз двигатель 409 помпа
Система охлаждения двигателя уаз хантер 409 мотор
Радиатор охлаждения УАЗ 3163 Патриот дв.409, IV...
ЗМЗ 409 как снять вентилятор
Радиатор охлаждения 3741 ДВ-409, 4213 Буханка, ...
Купить радиатор на уаз буханка двигатель 409 — ...
Генератор УАЗ Патриот 409 с кондиционером - Ген...
Ремень генератора уаз хантер 409 двигатель без ...
Резонатор УАЗ Хантер Патриот дв 409 под 2 болта...
Двигатель ЗМЗ-409 АИ-92 УАЗ HUNTER, PATRIOT, Ев...
Радиатор охлаждения 3741 ДВ-409, Хантер (Nocolo...