Трубка + Ёмкость Прессостата DC67-00553A Для Ст...
Предназначение и устройство прессостата
Прессостат котла | Как проверить прессостат? | ...
Купить Трубка прессостата для стиральной машины...
Настройка прессостата посудомоечной машины
Трубка для прессостата стиральной машины samsun...
Sps l11x прессостат распиновка
Регулировка прессостата - Сантех Центр
Трубка патрубка прессостата СМА LG 3504FR3134A ...
Что такое прессостат в стиральной машине - Сант...
Патрубок сливной, в сборе с трубкой прессостата...
Трубка (шланжик) для прессостата (датчика уровн...
Что такое прессостат стиральной машины? Как про...
Купить Трубка прессостата / пневмореле универса...
Купить Трубка прессостата (20 см) для котлов Ar...
Трубка датчика уровня воды (прессостата) стирал...
Трубка прессостата стиральной машины купить в М...
Трубка прессостата Neva Lux | товары от ЛЕН-ГАЗ
Запчасти для кофемашин EXPERT-CM - Трубка от бо...
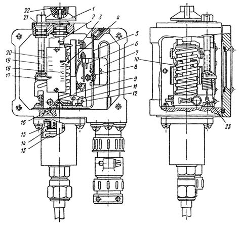
Схема подключения прессостата компрессора 220в
Гофрированный патрубок сливной (гофра, трубка) ...
Трубка для прессостата стиральной машины Ø4мм*8...
Прессостаты, реле давления и выключатели максим...
Трубка прессостата газового котла аристон — куп...
Купить Трубка прессостата для газовых котлов Ba...
Трубка прессостата для стиральной машины Ø4мм*8...
Запчасти и аксессуары для котлов Navien Трубка ...
Прессостат воздушный – Принцип работы прессоста...
Прессостат стиральной машины и его предназначение
Купить Прессостаты, реле давления воздуха, газа...
Трубка прессостата для СМА Beko 2800830100 - За...