Гидроклапаны давления с обратным клапаном типа ...
Гидроклапаны предохранительные типа Г52-2 - Гид...
Гидроклапан обратный КВRНД18L купить в Ростове-...
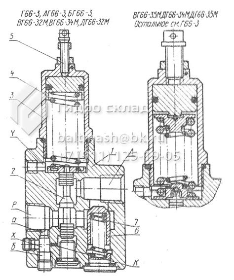
Гидроклапан давления с обратным клапаном ВГ66-3...
Гидроклапан МКРВ-20/3С2Р3 купить по низкой цене
Гидроклапаны
Гидроклапан давления БГ54-35М — купить в Украине
Гидроклапаны - КБ онлайн
Гидроклапан давления с обратным клапаном Г66-3,...
Купить Гидроклапан ДГ54-35м резьбовой - Гидрокл...
Гидроклапаны давления типа Г54-3
Гидроклапана
Гидроклапаны - основные виды и типы гидравличес...
Гидроклапаны последовательности с обратным клап...
Гидроклапаны МКПВ Ду10 Ду20 Ду32 /3Т | SoKKoL
Гидроклапан давления ПБГ54-35М — купить в Украине
ГИДРОКЛАПАНЫ: НАЗНАЧЕНИЕ И ВИДЫ
Гидроклапан АГ66-32М, цена в Санкт-Петербурге о...
Гидроклапан давления АГ54-34М, цена в Санкт-Пет...
Гидроклапан: основные типы, устройство и принци...
Область применения :: Гидроклапаны: как устроен...
Гидроклапана купить по низкой цене.
Гидроклапан АГ52-24, цена в Санкт-Петербурге от...
Гидроклапан БГ52-22, цена в Санкт-Петербурге от...
1. Регулирующая гидроаппаратура давления
Цель работы. Изучить конструкцию и принцип рабо...
Гидроклапаны давления типа Г54-3 от 450
Гидроклапан предохранительный модульный М-КП-М-...
Гидроклапан редукционный МКРВ 16/3Ф1Р2 купить в...