Карнизная планка для кровли, купить по низкой ц...
Декоративная планка карниза | Купите карнизную ...
Карнизные (кровельные) Планки Для Кровли | Roof...
Карнизная планка и капельник: для чего нужны эт...
Карнизная планка (торцевая), цена для металлоче...
Планка карнизная для металлочерепицы и профнаст...
Профилированные изделия для крыши/ кровли: коне...
Карнизная планка printech - купить в Санкт-Пете...
Доборные элементы для кровли: виды и назначение...
Планка Карнизная купить у Производителя в Киеве...
Комплектующие для мягкой черепицы, доборные эле...
Карнизная планка для мягкой кровли, битумной че...
Планки, гвозди и саморезы | Комплектующие для г...
Что такое карнизная планка для мягких кровель
Карнизная планка для мягкой кровли - советы по ...
Карнизная планка
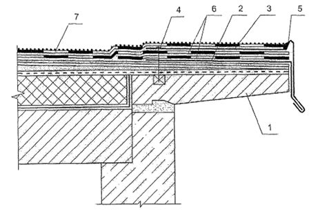
Устройство карниза
Железобетонные карнизные плиты: монтаж, узел кр...
Ветровая планка для кровли фото (Множество фото...
Карнизная планка для металлочерепицы: монтаж, р...
Монтаж карнизной планки для кровли: размеры, ка...
Планка карнизная