Установка пожаротушения автономная «ЭТАЛОН ЩИТ»
ЩП в комплектации устанавливаются в том количес...
Устройство пожарного щита по госту фото
Пожарные щиты
Требования норм и правил пожарного щита
Автономная установка пожаротушения УПА «ЭТАЛОН ...
Пожаротушение электротехнических щитов АУП «ЭТА...
Огнетушитель для электрощита - есть ли смысл ст...
Пожарный щит - нормы и комплектации по госту
Устройство пожаротушения автономное с применени...
Установка пожаротушения автономная «ЭТАЛОН ЩИТ»...
Пожарный щит на насосной станции | Пикабу
Автоматические системы пожаротушения: стоимость...
Требования к пожарным щитам – размещение, монта...
Обзор базы визуализации щитов и электрооборудов...
Установка автоматической системы пожаротушения ...
Как собрать САМЫЙ безопасный ЭЛЕКТРОЩИТ для ква...
Эталон щит - 100 огнетушитель на DIN рейку #эле...
Щит пожарный в комплекте + 2 огнетушителя – фот...
Пожарные щиты и их комплектация
Монтаж системы пожаротушения - YouTube
Пожарный Щит Комплектация Фото — Mixyfotos.ru
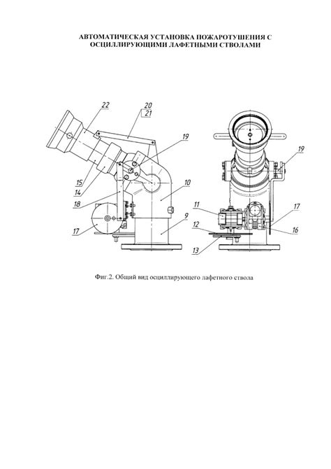
Иллюстрации к патенту 2661325 - Автоматическая ...
Пожарный щит своими руками | Строительный портал
Проектирование автоматической установки пожарот...
Автономные аэрозольные устройства пожаротушения
Средства тушения пожаров - online presentation
Пожарный щит
Огнетушитель для электрощита на дин рейку — куп...
Комплектация пожарного щита » Строительный портал