Теодолит что это такое, устройство, поверки, ка...
Теодолит: поверки, устройство, измерение, назна...
Лекция 3 Измерение углов Принцип измерения
ТЕМА: «Угловые измерения». Назначение теодолита...
Теодолит устройство описание: Описание и назнач...
Геодезия. МУ Работа с теодолитом
Особенности точного теодолита ЗТ5КП - Геодезия
Теодолит - что это такое: электронный, разница ...
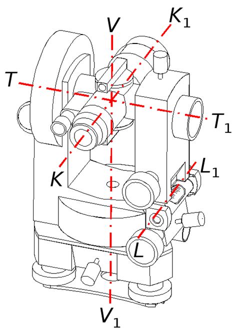
ТТ 1 - ось вращения зрительной трубы.
Теодолит - что это такое? теодолит оптический. ...
Устройство теодолита т-30 и его назначение. пов...
Теодолит: устройство и назначение :: SYL.ru
Основные части теодолита, Горизонтальный круг. ...
Теодолит: основные части и принцип работы
Теодолит - характеристики
Izmerenie_uglov - презентация онлайн
Устройство технических теодолитов - Технологиче...
Что такое теодолит: устройство и строение, как ...
Измерение углов
Задание 1. Изучить устройства теодолита т30 (2т30)
курс лекций по геодезии - Лабораторная работа 1...
Устройство теодолита. устройство теодолита 2т30
2.1.2 Конструкция теодолита 4т30п
Теодолит
Конструкция теодолита Т5 - Устройство и соверше...
Теодолит устройство и принцип работы: Устройств...