Электрические нагревательные элементы для промы...
Муфельная печь высокотемпературная, газовая: те...
Завод высокотемпературных муфельных печей "Пелым"
Нагреватели для печей купить в России от изгото...
Схема печи электрической печи: Схема электричес...
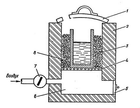
Муфельная печь, принцип ее работы и применение ...
Печи муфельной: Муфельная печь: назначение, уст...
Муфельные печи – применение и принцип работы му...
Муфельная печь что такое: Муфельные печи – прим...
Муфельные печи, принцип работы муфельных печей,...
Керамический канальный ТЭН нагреватель для муфе...
Нагревательные элементы для муфельных печей куп...
Муфельная печь своими руками для плавки металла
Муфельная печь своими руками: снол, виды, цены,...
Нагреватели для муфельных печей | Электронагрев
Печь для фьюзинга: устройство, принцип работы, ...
Конструкции нагревательных элементов электричес...
Муфельная печь это: Муфельные печи – применение...
Муфельные печи – устройство и применение муфель...
Муфельная печь для керамики (МКП80) – Муфельные...
Муфельная печь для стоматологов (МПС8) – Муфель...
Нагреватели для промышленных сушильных печей He...
Базовые модели муфельных печей | Термчическое и...