Сварочная горелка - устройство, виды, назначение
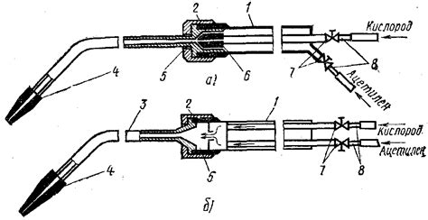
Схема ацетиленовых горелок, Схема электродержат...
Устройство газовой горелки, запуск и регулировк...
Виды газовых горелок для котлов отопления
Принцип работы любого сварочного полуавтомата. ...
Горелка высокотемпературная сварочная латунная ...
Ацетиленовая горелка: выбор и особенности приме...
Самодельный горн из консервной банки и газовой ...
Горелки газовые кровельные: Газовые горелки для...
ИНЖЕКЦИОННАЯ ГАЗОВАЯ ГОРЕЛКА своими руками. Раз...
Продукция - Белсистемтехнологии
Температура газовой горелки: от чего зависит те...
Сварочные горелки | «НТ-Сварка»
Классификация и устройство сварочных горелок: о...
Чем отличаются инжекторные и безинжекторные гор...
Устройство газовой горелки, особенности запуска...
Газопламенные горелки.
Кровельная горелка - какую выбрать? - VITGAZ.by
Работа с газовым оборудованием – Технологии и т...
Устройство горелка для полуавтомата сварочного:...
4. Дуговые и лучевые виды резки металлов
Сварочные горелки Parker | Купить сварочную гор...
Газовые горелки для сварки | «НТ-Сварка»
Мобильный газовый резак - его особенности и сов...
Какую выбрать газовую горелку на баллончик - по...
Какой горелкой нагреть металл
Принцип работы и устройство газовой горелки
Безынжекторная газовая горелка ГС-1 | Сварка и ...
Автоген. Как разрезать металл газом?
Горелка сварочная для полуавтоматической сварки...
Аппаратура для газовой сварки - Материаловедение