Реле тока РТ-40/Ф - расшифровка, содержание дра...
Реле тока серии РТ40
РТ-40, РТ-140 реле максимального тока. Характер...
Рт 40: Реле максимального тока РТ 40, 140
Реле максимального тока РТ-40 | Пикабу
Реле тока рт 40 – 40
Реле максимального тока рт 40: Реле максимально...
Реле РТ-40У УХЛ4
Реле тока РТ 40 купить | Реле максимального ток...
Реле тока РТС-40. Описание, характеристики, фор...
Реле тока РТ-40М
Реле тока рт 40 чэаз 1
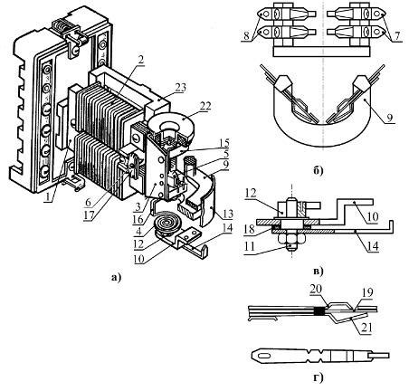
Конструкция реле максимального тока рт 40
Реле тока РТ-40 - защитник сети. (5 видео) | А ...
РТ-40/0,6 реле тока - ТОВ "ЕЛЕКТРОПРОМОПТ"
РТ-40/20 реле тока - ТОВ "ЕЛЕКТРОПРОМОПТ"
Реле тока РТ-40/0,2,РТ-40/2, РТ-40/0,6, РТ-40/6...
Реле максимального тока РТ-40, 140
РТ-40/Р реле максимального тока купить в ООО МИ...