4.3 Программируемый контроллер прерываний кр580...
2.3 Генератор тактовых импульсов кр580гф24
Принцип построения модуля центрального процессо...
4.2 Буферный регистр кр580ир82
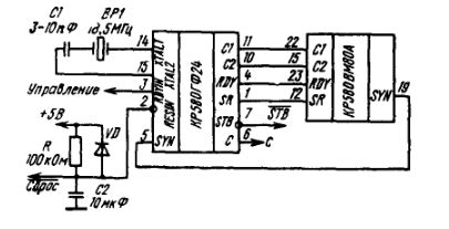
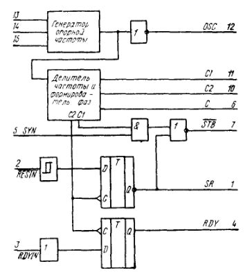
Генератор тактовых импульсов кр580гф24
МИКРОКОНТРОЛЛЕРОВ НА БАЗЕ КР580ВМ80
Микролаб КР580ИК80
3 Характеристики микропроцессора кр580ик80а
Архитектура микропроцессора кр580вм80а
Микросхемы - РетроРадиоДеталь
Многокристальные секционированные микропроцессоры.
кр580вм80а — купить в Красноярске. Состояние: Н...
Микросхема КР580ГФ24
Видеокарта AMD Radeon RX 580 8Gb 256b GDDR5 Гар...
4.1. Микропроцессорный комплект кр580
4 Буферный регистр кр580ир82 и шинный формирова...
3.6 Микропроцессор кр580вм80а
2.5 Системный контроллер и шинный формирователь...
Организация микропроцессора кр580
КР580ВМ80А как и КР580ИК80А — аналог Intel 8080...
МИКРОЛАБ КР580ИК80 - YouTube
2.3 Триканальний програмований пристрій - мікро...
KTNF
Микропроцессор кр580ик80а
Видеокарта RX 580 8 гигов с Китая что это ? Нов...