ЛК-70/20-И-3ГС - ООО ЭНЕРГЕТИК-1 Кабельные муфты
Изолятор полимерный ЛК 70/10-IV (СП) - ООО "Дел...
Изолятор Лк 70 10 Подвесной Литой Полимерныйlfo...
Изолятор ЛК-70/10, цена в Челябинске от компани...
Изолятор ЛК-70/10-И4-СС
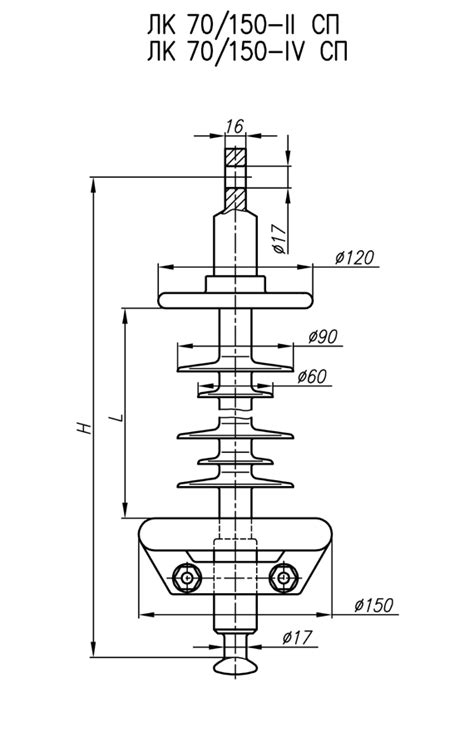
Купить Размеры изолятора ЛК 70/150 СП - цены от...
Изолятор ЛК-70/10-И-4 СП полимерный подвесной к...
Полимерный изолятор (SML 70/10 СС) - Изоляторы ...
Изолятор ЛК-70/35-И-2 ГС (ЛК-70/35-Г2) - ООО "С...
Полимерный изолятор ИНСТА ЛК 70/10-И-3 СП 00000...
ЛК-70/10-И-3 ГС изолятор композитный - ООО ЭНЕР...
Изолятор ЛК-70/35-И-3 СП (ЛК-70/35-А3) - ООО "С...
Изолятор ЛК 70/10-4 СП - Купить
Изолятор ЛК-70/10-И-4 СС (ЛК-70/10-Б4) - ООО "С...
Изолятор ЛК-70/10-И-3 СП (ЛК-70/10-А3) - ООО "С...
Изолятор ЛК 70/10-4 СС цена, продажа. Купить из...
Изолятор ЛК-70/10-И(У)3-СС в наличии во Владиво...
Полимерный изолятор ЛК 70/10-А3 УХЛ1, новый, в ...
Изолятор ЛК-70/110-И-2 СП (ЛК-70/110-А2) - ООО ...
Купить Чертеж изолятора ЛК 70/35 СП - цены от п...
Изолятор ЛК 70/10 А4 ГС УХЛ1
Полимерный изолятор (SML 70/10 ГС) НИЛЕД - купи...
Изолятор ЛК 70-10-5Ц в Украине
Изолятор натяжной ЛК-70/10-И-3ГС
Изоляторы серии ЛК-70 - расшифровка, содержание...
Купить Размеры изолятора ЛК 70/330-3 СП - цены ...
ЛК-70/10-VI СС
Куплю: куплю изоляторы пс-70е, пс-70д, псд-70, ...
Изолятор ЛКЦ 70-10-5 | Славметэнерго
Изолятор ЛК-120/10-И-3 СС (ЛК-70/10-Б3) - ООО "...
Изолятор полимерный ЛК-70/10, купить в Екатерин...