Наконец-то поменял ремень ГРМ и ролики — Toyota...
Характеристики мотора 11183 | AUTO-GL.ru
Что такое ремень ГРМ в автомобиле: предназначен...
заменил ремень ГРМ +ролики — BMW 3 series (E36)...
Порвался ремень ГРМ — Lada Гранта (1G), 1,6 л, ...
Свисает ремень Грм с шкива распредвала?! — Dats...
Ремень ГРМ.Как посмотреть. — Chevrolet Cruze (1...
Ремни ГРМ - купить в интернет-магазине Автодок
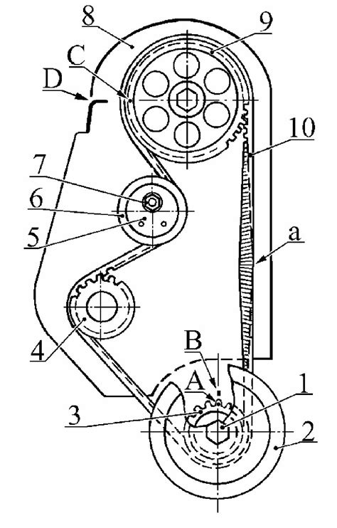
Ремень привода ГРМ двигателя. Двигатель ВАЗ-111...
Ремень ГРМ "суперслик" | Пикабу
Обзор товара Ремень ГРМ ВАЗ-21126,11194 комплек...
Ремень грм — купить в Красноярске. Состояние: Н...
Замена механизма ГРМ | Автопартнер на ОболоніАв...
Ремень ГРМ на Hyundai Accent (2G), Hyundai Acce...
Купить Ремень Грм (166 Зуб.24Mm) Alfa Romeo 145...
Ремень ГРМ Bosch. — ЗАЗ 1105, 1,3 л, 1993 года ...
Ремень грм Dayco оригинал или нет? — Renault Gr...
Ремень ГРМ Лада Гранта: выбор, замена своими ру...
Ищу комплект ремней, роликов грм ea82 атмо — Su...
Ремень генератора ваз 1118 8кл без кондиционера...
Ремень ГРМ | Сайт автосервиса Тач Авто
Замена ремня грм — Volkswagen Golf Mk3, 1,8 л, ...
Ремень ГРМ 2108-1006040 для ВАЗ 2108-15, Лада К...
Ремень ГРМ+1 ролик Renault Logan Sandero Megane...
Ремкомплекты грм – купить комплект ремней грм (...
Ремень ГРМ | Пикабу
Сколько служит ремень ГРМ и что убивает его ран...
Ремень Мужской GRANDE PELLE 00863 Джинсовый Сер...
Ремень ГРМ Gates. Знатоки, оригинал? — Lada Гра...
Вот и настало время капиталки g6at — Hyundai Ga...
Комплект ремня ГРМ (усиленный ремень)
Ремень ГРМ… — BMW 3 series (E36), 2 л, 1993 год...
Поменял ГРМ + ролики и ручейковый ремень — Chev...
Ремень ГРМ. Я везунчик ))) — Lada Приора хэтчбе...