Петля маслоподъемная 1/2" медная купить в Москв...
Маслоподъёмная петля d 7/8" (22.23мм) - купить ...
Купить маслоподъемная петля 1/2 в Москве | Мага...
Маслоподъемная петля для кондиционера для чего ...
Маслоподъемная петля - полезная штука для механ...
Маслоподъемная петля 1/2 купить за 395 руб. во ...
Маслоподъемная петля 1 5/8"(42мм.) К
Маслоподъемная петля - Вентлюкс
Медные трубы и фитинги для кондиционеров и холо...
Изготовляем маслоподъемную петлю
Петля маслоподъёмная
Медная труба для кондиционера: размеры, свойств...
Петля маслоподъемная 1/2 купить по выгодной цен...
Петли маслоподъемные
Петля маслоподъемная 1 1/8 " (28.58 мм) купить ...
Маслоподъемная петля 1" (25Х1,5) - купить с дос...
Готовый комплект для монтажа кондиционера 1м, т...
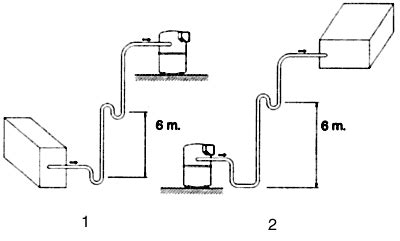
Маслоподъемная петля схема монтажа
Маслоподъемная петля медная для кондиционирован...
Маслоподъемная петля - купить в Москве по низко...
Правила монтажа маслоподъемных петель
Маслоподъемная петля под пайку, 5/8" - купить с...
Маслоподъемная петля 5/8" (15,9 мм) артикул 110...
Трубы для кондиционера: дренажные, медные и сер...
Петля медная 1_1/4" (маслоподъемная) — купить п...