Пневмосистема камаз 65115 схема - 85 фото
Подшипник привода вентилятора камаз
Установка радиатора на камаз - 80 фото
Камаз 65115 схема включения муфты вентилятора
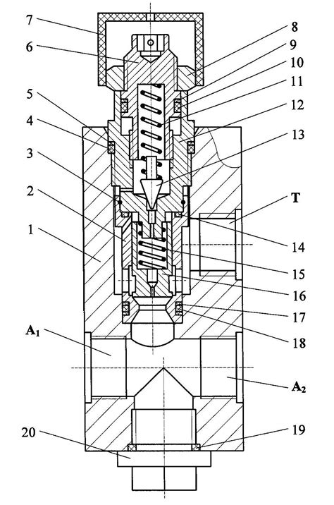
Клапан керування гідропідсилювача Камаз
Клавиша включения вентилятора камаз - 92 фото
Вентилятор, гидромуфта Камаз
Кнопка включения света камаз распиновка - 95 фото
Куплю мелочь, но приятную. — Volkswagen Transpo...
ЭБУ электромагнитной муфтой привода вентилятора...
Аварийная кнопка вентилятора. - YouTube
130-12-015 Вентилятор КамАЗ-ЕВРО 650мм с вязкос...
МЕНЯЕМ РЕЛЕ РЕГУЛЯТОР НАПРЯЖЕНИЯ. КАМАЗ. Как по...
ЭЛЕКТРОМУФТА ВЕНТИЛЯТОРА КАМАЗ ЕВРО 2.ПРИНУДИТЕ...
Гидромуфта привода вентилятора - Энциклопедия п...
Схема включения вентилятора камаз
замена датчика включения вентилятора — КАМАЗ 11...
Как правильно установить вентилятор на камаз - ...
Клавиша вентилятора отопителя К..З. АВТОАРМАТУРА
«Как не перегреть мотор» или Постоянный привод ...
Регулировка предохранительного клапана гидрорас...
Сапун камаз евро 1 схема (33 фото) - фото - кар...
НЕ РАБОТАЕТ КНОПКА МАССЫ. КАМАЗ. Масса не включ...
Кнопка массы на автомобиль камаз - YouTube
Где находится датчик включения вентилятора кама...
Кнопка принудительного включения вентилятора ох...
Кнопка включения вентилятора салона! — КАМАЗ 11...
Крыльчатка вентилятора двиг.КамАЗ 740 ОАО "КАМАЗ"
Кнопка включения массы камаз схема - 86 фото
Кнопка моторчика печки — КАМАЗ 11113 Ока, 0,7 л...
Кнопка Камаз главного света
Как проверить электромагнитную муфту вентилятор...