Термоизоляция трубки кондиционера — Chevrolet L...
Ремонт кондиционера Шевроле Лачетти - Шевроле Л...
Компрессор кондиционера лачетти не создает давл...
Шевроле лачетти шумит компрессор - 81 фото
Замена резонатора шевроле лачетти - 90 фото
Шевроле Лачетти (Chevrolet Lacetti) замена прок...
Артикулы кондиционера Шевроле Лачетти, кузов J200
Не включается кондиционер, обогрев стекла, реци...
Подшипник кондиционера и натяжитель ремня — Che...
Устройство компрессора кондиционера шевроле лач...
Где находится компрессор кондиционера шевроле л...
Система охлаждения Лачетти
Компрессор кондиционера Шевроле Лачетти (Chevro...
Замена гидрокомпенсаторов на шевроле лачетти - ...
Как снять фишку с компрессора кондиционера шевр...
Кондиционер — Chevrolet Lacetti 5D, 1,6 л, 2008...
вентилятор в лачетти от кондиционера - YouTube
Замена трубки кондиционера — Chevrolet Lacetti ...
Замена управление печки , кондиционира на ШЕВРО...
96484931 радиатор кондиционера Шевроле Лачетти ...
Как обойти компрессор кондиционера на шевроле л...
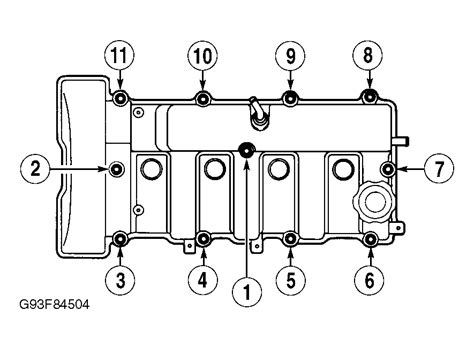
Схема затяжки болтов клапанной крышки шевроле л...
Кондиционер — Chevrolet Lacetti 5D, 1,4 л, 2006...
Реанимация кондиционера. Часть 3 — Chevrolet La...
Заправка кондиционера '21 — Chevrolet Lacetti S...
Выполняем замену подшипника кондиционера Шеврол...
Замена сальника компрессора кондиционера лачетт...